WIRING HARNESS REPAIR, INCLUDING SUPPLEMENTARY RESTRAINT SYSTEM FIRING CIRCUIT WIRING.
CAUTION: Disconnect the battery before commencing the repair of any wiring harness.
The repair is only appropriate where the damage is localised and is not over the full length of the wiring harness. If the damage is end to end then replacing the whole harness should be considered where appropriate. The damaged section of wiring harness must be removed by cutting either side of the damage at a point where the wiring harness retains its original condition. The number of twists in a twisted pair of wires is important to the functionality of the circuit and as such must be maintained. Note the number of twist over the repair length prior to commencing the repair. The same number of twists must reintroduced after completing the repair.
If repairing multiple wires within a harness, stagger the connecting splices and twist the wire between the connecting splice locations. This will minimize the untwisted length and the effect of increasing the diameter of the harness. On no account must the untwisted length exceed 50 mm (2.0 inch) each side of the connecting splice. When each connecting splice repair is completed, cover the splice with a black glue lined heat shrink sleeve. Use an approved hot air applicator to shrink the sleeve until the glue is visible at both ends. Make sure that connecting splice repairs are not located in any dynamic movement area of a harness.
When all wiring harness repairs are complete, the wiring harness must be wrapped in insulating tape and returned as close as possible to new vehicle condition. Make sure the wiring harness follows the original routing and all clips and connectors are secured.
Repairs to SRS firing circuit wiring.
WARNING: Do not use any vehicle with damage to the supplementary restraint system components or wiring harness.
CAUTION: All supplementary restraint system wiring harness repairs must be completed using the approved repair kit only.
The wiring used for a SRS firing circuit repair must be 0.5 mm² (0.00078 inch²) cross sectional area. Both the male and female sides of the damaged connectors must be replaced. Installation of SRS pre-terminated connectors, cut the wiring harness at a suitable point as close as possible to the damaged connector (destroy the removed connector).
Identify the correct new pre-terminated connector from the SRS firing circuit wiring harness repair kit and cut to a suitable length. Install to the SRS firing circuit wiring harness using the connecting splices supplied.
Follow the repair procedure detailed above, taking into account the staggering of connecting splices and the number of twists. The whole repair should then be covered with yellow heat shrink sleeve supplied to act as SRS firing circuit wiring repair location/identification. The repair authentication label must be completed by the authorized technician conducting the repair and approved by their supervisor. The label must then be secured around the harness adjacent to or at a suitable point as close as possible to the location of the repair.
Care and neatness are essential requirements in making a perfect repair.
CAUTION: Under no circumstances should repair be attempted to the following:
If any harness(s) with defective electrical connector terminals or cables from the above circuits give cause for concern, new components must be installed.
CAUTIONS:
These types of cable generally have a cross sectional area larger than 6 mm² (0.009 inch²) and must only be replaced. If the original cable is contained within the harness bundle the original cable must be left in the harness. Attach the replacement cable to the harness along the original harness route.
The replacement cable must follow the original cable route to avoid the risk of introducing electrical interference issues. The original cable connections must be cut from the cable at both ends and discarded. The exposed cable ends must be free from sharp edges and strands of wire. The exposed cable must be over taped to prevent injury before being taped back to the main harness.
If any harness(s) with defective electrical connector terminals or cables from the above circuits give cause for concern, new components must be installed.
ELECTRICAL WIRING HARNESS REPAIR COMPONENTS
The electrical wiring harness repair components comprises of:
NOTE: A suitable heat source, for shrinking the glue lined heat shrink sleeves will be required.
The pre-insulated diamond grip range of electrical connector terminals and in-line splice connectors are the only acceptable product for the repairs of wiring harnesses. The splice connectors not only grip the wire but also the insulation, making a very secure joint.
Pre-Terminated Lead and Splice Connectors
The pre-terminated lead(s) are supplied with the insulation in 1 of 3 colors, red, blue or yellow. The colors indicate the cable size range and not any particular circuit; refer to the Electrical Wiring Harness Repair Relationship Table in the Repair Methods section.
Splice connectors are also supplied with red, blue or yellow coverings, which must be matched to the pre-terminated lead insulation color.
For ease and speed, some of the pre-terminated lead(s) may already have the insulation partly stripped at the splice end. If the repair requires insulation to be stripped from the cable, refer to the Electrical Wiring Harness Repair Relationship Table in the Repair Methods section. The correct length of insulation to be stripped will be detailed in the table.
Wire Chart and Service Repair Information
This information is part of the relevant Electrical Reference Library (ERL) or Interactive Electrical Wiring Diagrams (iEWD) available through TOPIx.
NOTE: Access to information about the pre-terminated leads for vehicles supported by the iEWD is achieved by hovering the screen pointer over the relevant connector number and left-clicking.
When the relevant connector housing has been identified, refer to the associated Wire Chart and Service Repair Information. This is to make sure the installation of pre-terminated leads or wiring harnesses are completed in the approved manner.
Before commencing a wiring harness repair, always make sure the correct pre-terminated leads and associated repair parts have been ordered using the Jaguar Land Rover (JLR) parts ordering system.
Some of the pre-terminated leads have seals installed to the insulation for sealed connector applications. Where, as part of a repair, sealed terminals are removed, it is essential that those terminals are replaced by sealed pre-terminated leads.
Wire chart and service repair information also includes:
CAUTIONS:
Do not over heat the glue lined heat shrink sleeve so that the wiring harness insulation becomes damaged.
Glue Lined Heat Shrink Sleeving
There are 2 sizes of glue lined heat shrink sleeving available. Each heat shrink sleeve contains a sealant glue. These must be used when connecting wiring harness(s) or electrical connector terminal(s) at all times. The smaller diameter glue lined heat shrink sleeve is to be used with the red and blue splice connectors. The larger diameter glue lined heat shrink sleeve is to be used with the yellow splice connectors.
Wiring Harness Cable Identification Sleeves
A selection of colored sleeves are available for maintaining the wiring harness cable identification on the pre-terminated lead.
The sleeve identification packs are available to suit the 3 cable size ranges of Red, Blue and Yellow. Each sleeve identification pack contains 50 of each of the following colored sleeves:
Place the correct colored sleeve(s) over the pre-terminated lead insulation as near to the electrical connector as possible. The main wiring harness cable color should be nearest to the electrical connector.
For example: if the original wiring harness cable color is green with a black trace:
Wiring Harness Repair Parts
NOTE: Repair components can be ordered through the JLR parts ordering system.
.png)
WIRING HARNESS REPAIR TOOLS
NOTE: Replacement repair equipment can be ordered from the equipment workshop website; refer to the Replacement Repair Equipment in the Introduction section.
The wiring harness repair tools comprises of:
Extraction Tools
The extraction tools are used to remove a terminal from an electrical connector. Refer to the Wire Chart and Service Repair Information for the correct extraction tool for each terminal (where applicable). Each extraction tool has been specially designed to extract a particular type of electrical connector terminal. The use of any other tool is not recommended and is liable to cause damage to the electrical connector.
CAUTION: Inspect the electrical connector housing for evidence of damage. The damage may affect the security of a terminal inside the connector housing. The damage may affect the operation of the anti-backout device. The damage may affect the secure installation of the connector housing to the intended component/connector housing. Replace a damaged electrical connector housing.
Insulation (Wire) Stripper
By pressing the outer edges of the wiring harness cable length stop together the adjuster can be slid up or down the jaw. This decreases or increases the length by which the cable insulation will be stripped from the pre-terminated lead or wiring harness cable.
NOTE: Some wiring harness insulation may be harder and require more effort to make a clean strip but exercise care not to damage the wire.
Insulation (Wire) Stripper
.png)
The adjuster has a position indicator to align with a graduated scale and this sets the correct length in millimeters, of insulation to be stripped. The amount of insulation to be stripped is shown in the Electrical Wiring Harness Repair Relationship Table.
The following illustration shows the insulation stripper tool and a wiring harness correctly gripped in the jaws. A wire cutter is provided on the outer side of the fixed jaw.
Cable Correctly Gripped in Stripper Blades
.png)
Crimpers
The crimpers have a moving jaw and a stationary jaw, with 3 different sized crimping enclosures. Each of the enclosures are identified by a red, blue or yellow colored dot which corresponds to the 3 colors of the pre-terminated leads and splice connector.
Crimpers
.png)
NOTE: Replacement repair equipment can be ordered from the equipment workshop website; refer to the Replacement Repair Equipment in the Introduction section.
.png)
APPROVED ELECTRICAL WIRING HARNESS REPAIR METHODS
CAUTION: Several different types and sizes of terminal may be found in a single electrical connector housing.
It is necessary to identify:
Use of the approved diagnostic tool will greatly assist in the quick identification of electrical connectors and faulty pin terminal(s).
Reference can also be made to the ERL and iEWD available through TOPIx, to identify wiring harness(s) and electrical connector(s).
Use the Electrical Wiring Harness Repair Relationship Table to identify the correct splice connector to suit the wiring harness conductor (wire) size. This will relate to a suitable pre-terminated lead by the color of the insulation. The table also identifies the correct length of insulation to be stripped from the wiring harness lead.
Electrical Wiring Harness Repair Relationship Table
.png)
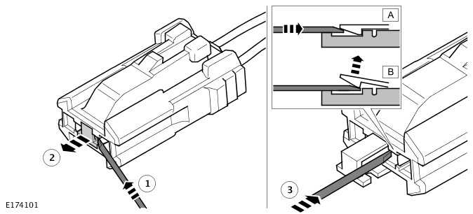
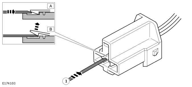
Electrical Connector Terminal Extraction
It must be noted that some electrical connector(s) have anti-backout devices which prevent the terminals from being removed from the electrical connector. Some examples of these are shown in following illustrations. The anti-backout device must be released before attempting to remove the terminal from the electrical connector. Some anti-backout devices require a special tip to release the device. Please refer to the ERL for the correct tool(s) to use (where applicable).
Various types of electrical connector have seals installed internally or externally to prevent moisture ingress. These normally do not have to be removed but make sure that they are installed when the electrical connectors are connected.
CAUTION: Inspect the electrical connector housing for evidence of damage. The damage may affect the security of a terminal inside the connector housing. The damage may affect the operation of the anti-backout device. The damage may affect the secure installation of the connector housing to the intended component/connector housing. Replace a damaged electrical connector housing.
The illustrations show examples of some of the common styles of extraction tools used on different types of electrical connector(s). Care should be exercised to avoid further damage when removing the terminals from the electrical connector.
NOTE: Examples of the extraction tools and anti-backout devices.
A
.png)
B
.png)
C
.png)
D - 1
.png)
D - 2
.png)
E
.png)
F
.png)
G
.png)
H
.png)
I
.png)
J
.png)
K
.png)
L
.png)
M
.png)
N
.png)
TYPES OF ELECTRICAL WIRING HARNESS SPLICE REPAIRS
Splice connectors are available in 3 sizes; refer to Pre-Terminated Lead and Splice Connectors in the Electrical Wiring Harness Repair Components section.
A splice connector can be used in a number of ways to achieve an effective and robust wiring harness repair.
NOTE: For all repairs the wire being repaired must not be under any strain when the circuit is connected to the intended component or connector housing etc. If the wire is too short when the damage has been removed, it must be returned to the appropriate length. This requires inserting an extension wire into the center of the splice repair; refer to Double Splice Extension Repair.
The following information will show and explain the variations of splice joints achievable; these are:
A 1 Wire Splice Repair
If a wire has damage isolated to the wire only without any further damage to the terminal or connecter, the damaged portion of wire can be removed. Remove the damaged part of the wire by cutting each side of the damaged area and reconnected using the appropriate splice connector.
A 1 Wire Splice Repair Example
.png)
A 2 Wire Splice Repair
To repair wiring harnesses with damaged eyelets, use a splice connector with a suitable pre-terminated lead with the appropriate eyelet and wire size. See table below for more information.
.png)
NOTES:
If the wiring harness has a damaged eyelet with 2 wires to the eyelet, it is recommended to use a suitable pre-terminated lead. The lead should have a cross sectional area equal to or greater than that of the 2 wires combined to complete the repair.
A 2 Wire Splice Repair Example
.png)
Pulled Out Wire Splice Repair
If a wire has become disconnected from its splice, it can be repaired by splicing the disconnected wire to 1 of the wires still part of the original splice.
Cut the undamaged wire of the original splice and with a suitable splice connector, clamp the splice side of the wire.
Install a suitable section of glue lined heat shrink sleeve to the splice the wire had disconnected from. Insert the disconnected wire and the undamaged wire into the splice connector and clamp the splice connector.
Pulled Out Wire Splice Repair Example
.png)
Damaged Splice Repair
If a wiring harness has splice which has been damaged, the splice must be removed and replaced.
Remove the damaged splice by cutting it from the wiring harness, making sure to leave as much undamaged wire as possible on the wiring harness. Using 1 or more suitable splice connectors make a new splice.
Damaged Splice Repair Example
.png)
Double Splice Extension Repair
If the wire(s) being repaired are too short when the damage area of wire has been removed the following is recommended. Use 2 splice connectors and an appropriate length of wire with colored cable identification sleeves to return the wire its original length.
The extension wire must have the same or greater cross sectional area as the wire(s) combinations entering the splice connectors. Example: 2 wires x 0.5 mm² (0.00077 inch²) cross sectional area + 2 wires x 0.75 mm² (0.0012 inch²) cross sectional area would require a wire of 2.5 mm² (0.0039 inch²) cross sectional area or greater.
Double Splice Extension Repair Example
.png)
Splice Repair to Wire Smaller than 0.35 mm² (0.00054 inch²)
To repair a damaged wire with a cross sectional area smaller than 0.35 mm² (0.00054 inch²) do the following. Use the smallest approved splice connector (red) and insert an additional wire with the wire being repaired into each side of the slice connector.
For each splice repair to a wire smaller than 0.35 mm² (0.00054 inch²), an additional piece of wire (0.35 mm² (0.00054 inch²) or 0.5 mm² (0.00078 inch²) ) must be used. The additional piece of wire must be inserted into the splice connector with the wire being repaired. to make the joint secure when crimped. When the wires have been crimped into the splice connector, all additional wire(s) must be cut close to the splice connector. This is to make sure the additional wire is fully covered when the glue lined heat shrink sleeve is in position over the splice connector.
Splice Repair to Wire Smaller than 0.35 mm² (0.00054 inch²) Example
.png)
Repairs to Twisted Wires
The number of twists or turns of twisted pair wires is important to the functionality of the vehicle systems and as such must be maintained during a repair.
It is important to make sure that the number of turns over the repair length is counted at the start of the repair. Make sure that the same number of turns are reintroduced before fitting the terminals into the connector. If the original number of turns cannot be reintroduced on a twisted wire, the following dimensions must not be exceeded:
WIRING HARNESS REPAIR PROCEDURE
Before starting any repair of a damaged wire, the damaged wire must be inspected along its length where possible to evaluate the full extent of the damage. If the damage is in a localized area the wire repair is recommended, if the damage is extensive, a replacement harness should be considered. A wire being repaired must be cut at a point where there is no damage to the wire or insulation.
NOTES:
Where there is a need to repair more than 1 wire in a harness branch, the splices must be staggered. This will minimize the effect of increasing the diameter of the harness branch. The recommended spacing is 50 mm (2.0 inch) between centers for yellow splices and 40 mm (1.57 inch²) between centers for red or blue splices.
CAUTIONS:
There is no specific limit on the number of splices that can be used in a harness branch. The responsible technician must judge the number of splices that can be installed along the available length of harness and within the space in which the harness is located.
Consideration must be given to any need to bend the harness and the risks of the repaired harness rubbing, squeaking or rattling against adjacent parts, body panels or trim.
Wiring Harness Repair Process
NOTE: Never use a harness lead with a smaller diameter than the original harness lead.
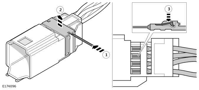
Select the correct size and type of pre-terminated wiring lead and splice connector; refer to Wire Chart and Service Repair Information.
From the Electrical Wiring Harness Repair Relationship Table, find the correct length of insulation to be stripped from the pre-terminated lead. Set the adjustable cable length stop to the correct length. Place the pre-terminated lead in the insulation (wire) stripper and remove the insulation.
Insert the pre-terminated lead into the splice connector and make sure that the wire is against the wire stop.
Close the grip firmly, crimping the pre-terminated lead to the splice connector. When the handles have been completely closed the splice connector will be freed from the tool as the handles are released. If the handles have not been completely closed then the jaws will hold the splice connector and it cannot be removed from the tool.
CAUTIONS:
- When using a heat source make sure that it is localized and causes no damage to surrounding materials.
- Where the repair procedure indicates that a glue lined heat shrink sleeve should be applied, apply sufficient heat to the glue lined heat shrink sleeve. This will melt the glue in order to provide a water tight seal. Do not over heat the glue lined heat shrink sleeve so that the wiring harness insulation becomes damaged.
Using a suitable heat source, shrink the sleeve over the splice.
Stripping Insulation
.png)
Splice Correctly Located
.png)
CLIP/FIXING REPAIR/REPLACEMENT
The following applies to 12V applications
When doing any Electrical Distribution System (EDS) repairs or investigating vehicle faults/failures the following guidelines must be followed:
The majority of clips/fixings are listed in the following table.
Push old or damaged fixing out of the way (turning it around the harness if necessary) and put on new fixing. Inspect fixing positioning to make sure that the harness is not close to anything hot, sharp or dynamic.
.png)
.png)
The following applies to 48V and High Voltage (HV) applications.
All HV fixings are classified as 'critical' for the vehicle assembly process. Threaded fixings must be reassembled using the specified torque (published in the Work Shop Manual/Topix). For all HV fixings, wherever possible the damaged part is to be displaced/pushed out of the way. The damaged part must be left in place and the new part installed alongside in the exact location of the old/previous fixing. Where the fixing must be removed to facilitate replacement then extreme care must be used to prevent risk of damage to the cables and coverings
GROMMETS - REPAIR/REPLACEMENT AND ADDITIONAL CIRCUITS
Solid (over moulded) grommets are non-repairable and must be replaced by the installation of a new harness.
Grommets with plastic inserts for panel retention - the inserts can be removed and replaced where necessary.
EPDM (Rubber) grommets: if the grommet is damaged then a 1 off attempt to repair with a suitable automotive grade silicon sealant is allowed. When the repair is completed, test for leaks (noise/fumes/water). If this fails to seal then the harness must be replaced.
If any vehicle accessories are added that require additional wires/circuits to pass through a sealed grommet then these must be routed through the service nipple. The service nipple must then be sealed using a suitable automotive grade silicon sealant and secured as shown below.
Rubber Grommet With Service Nipple
.png)
Wiring Harness - Most Network Harness Repair
Wiring Harness - Air Suspension Overlay Harness Introduction
Engine Wiring Harness - Ingenium I4 2.0l Petrol
Electric Vehicle Safety Rules (Section 9)
Speed Control - Diagnosis and Testing