FRONT MUDFLAPS - PART NUMBER: VPLEP0387, VPLEP0389
REMOVAL AND INSTALLATION
WARNING: Accessories which are not correctly installed can be dangerous. Read the instructions carefully prior to installation. Comply with instructions at all times. If in doubt, contact your nearest approved retailer.
CAUTION: If protective wax has been applied to the vehicle it must be thoroughly removed before starting this procedure.
NOTES:
.png)
.png)
REMOVAL
1.
WARNINGS:
Raise and support the vehicle on a suitable 2 post lift. If a suitable 2 post lift is not available then refer to the wheel changing section of the owner's handbook.
2.
NOTE: To provide extra clarity, the illustrations do not show the wheel that is still on the vehicle.
.png)
Remove the 3 clips on the rear part of the front wheel arch liner as illustrated.
3.
NOTE: To provide extra clarity, the illustrations do not show the wheel that is still on the vehicle.
.png)
Remove the clip at the top.
4.
NOTE: To provide extra clarity, the illustrations do not show the wheel that is still on the vehicle.
.png)
Make sure there is sufficient access to the inside surface of the front fender moulding.
5.
NOTES:
.png)
INSTALLATION
1. Clean the front fender moulding to make sure there is no dirt or debris.
2.
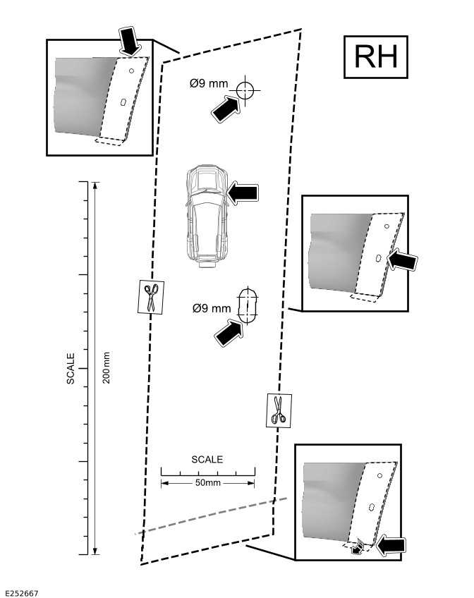
CAUTION: If the supplied template (B) is damaged during the install process, or damaged in the kit, then a new template can be created by printing out the appropriate template as shown in steps 22 and 23. After the template has been printed, the scale bars must be measured to make sure the template has been printed at the correct size.
.png)
Make sure the supplied template (B) is the correct size. Measure the 2 scale bars on the supplied template using a ruler.
3.
CAUTION: Make sure the templates are cut out accurately.
Use scissors to cut out the templates. Follow the cut guide lines exactly.
4.
CAUTIONS:
NOTE: Complete step on both sides of the vehicle.
.png)
Locate and secure the template (B) to the front fender moulding as illustrated. Make sure the template is positioned at the start of the radius edge of the front fender moulding.
5.
CAUTION: Take care to mark the hole positions accurately.
.png)
Mark the 3 positions on the front fender moulding. Use the template to identify where to mark the hole positions.
6.
WARNING: Make sure to wear suitable personal protective equipment.
CAUTIONS:
.png)
Drill holes at the marked positions.
7. Remove the template.
8.
.png)
Use a suitable file to remove any remaining plastic within the hole and the slot so they have clean edges.
9.
.png)
Clean the front fender moulding as illustrated.
10.
CAUTION: Make sure the front mudflaps do not distort as you tighten the nuts.
.png)
Install the 2 retaining nuts (E) and the 4 washers (D) to the front mudflap stud in the order as specified.
Torque: 2.5 Nm
11.
CAUTIONS:
NOTES:
.png)
Install the front fender moulding, with the front mudflap attached, to the vehicle.
12.
.png)
Check the alignment at the illustrated location. Make sure there is no gap between the front mudflap and the front fender moulding.
13.
CAUTION: Take care to mark the hole position accurately.
.png)
Use the front mudflap as a guide to carefully mark the hole position on the sill as illustrated.
14.
WARNING: Make sure to wear suitable personal protective equipment.
.png)
Carefully move aside the front mudflap and drill a hole at the marked position on the sill.
15.
NOTE: Make sure the bracket is correctly installed as illustrated.
.png)
Install the bracket (C) between the rocker panel and the wheel arch liner.
16.
NOTE: Complete step only if installing front classic mudflaps (VPLEP0387).
.png)
Apply masking tape as illustrated if installing front classic mudflaps (VPLEP0387). Make sure the masking tape is applied below the arrowed holes where the 2 bolts (F) will be installed in step 17.
17.
CAUTION: Make sure the front mudflaps do not distort as you tighten the bolts.
NOTES:
.png)
Install the front mudflap. Install the 2 sets of fixings in the order as specified. Torque: 2.5 Nm
18.
NOTE: Remove the masking tape if the front classic mudflaps (VPLEP0387) have been installed.
.png)
Check the alignment at the illustrated locations.
19.
CAUTION: Make sure to protect the paintwork.
NOTE: Make sure that the retaining clips are correctly installed.
Install the wheel arch liner rear section.
20. Repeat steps to install the front mudflap to the other side of the vehicle.
21.
CAUTION: The template must be printed at the correct size. Always measure the 2 scale bars on the template, using a ruler, to make sure the template has been printed correctly.
NOTE: In TOPIX click on the magnifying glass symbol to enlarge the graphic.
.png)
If the supplied template (B) is damaged during the installation process, or damaged in the kit, then a new template can be printed. Make sure the template is printed at the correct size. The template will need to be scaled during printing to achieve the correct size.
22.
CAUTION: The template must be printed at the correct size. Always measure the 2 scale bars on the template, using a ruler, to make sure the template has been printed correctly.
NOTE: In TOPIX click on the magnifying glass symbol to enlarge the graphic.
.png)
If the supplied template (B) is damaged during the installation process, or damaged in the kit, then a new template can be printed. Make sure the template is printed at the correct size. The template will need to be scaled during printing to achieve the correct size.
Rear Mudflaps
Raised Air Intake
Rear Scuff Plate
Battery and Charging System - General Information
Tire Pressure Monitoring System Control Module