Land Rover Defender: Tow hitch receiver

Make sure the relevant safety warnings
and cautions have been read and
understood before towing a trailer.
The fitting of a tow hitch is required before
towing
Note: Make sure that safety chains are
used and connected as shown.

Do not loop a safety chain over the tow
ball. The safety chain may slide off,
preventing correct operation in the
event that the trailer becomes
disconnected. Failure to correctly secure
a safety chain could result in serious
injury or death.

TOW HITCH

Make sure the relevant safety warnings
and cautions have been read and
understood before towing a trailer.
The fitting of a tow hitch is required for
towing with the tow hitch receiver.
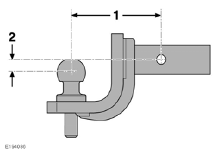
The following tow hitch dimensions must
be adhered to:

- The maximum recommended length
is 6.9 in (175 mm).
- The maximum recommended ball
height is:
- Coil suspension: -0.6 in (-15 mm).
- Air suspension: 1.3 in (35 mm).

Never leave the tow hitch loose in the
vehicle. In the event of an accident, or
during heavy braking, the tow hitch can
become a projectile potentially causing
serious injury or death.
If in any doubt about the fitment of a tow
hitch, consult a retailer/authorized
repairer.
READ NEXT:
Make sure the relevant safety warnings
and cautions have been read and
understood before towing a trailer.
Before towing a trailer, make sure both
the vehicle and the trailer are being used
in accord
Make sure the relevant safety warnings
and cautions have been read and
understood before towing a trailer.
Trailer Stability Assist (TSA) automatically
detects when sway is developing on a
correctly
Make sure the relevant safety warnings
and cautions have been read and
understood before towing a trailer.
Note: Advanced tow assist only operates
if the connected trailer has had a profile
created,
SEE MORE:
The following is a list of the parts that are
covered under the Federal Emission
Control System Warranties. Your vehicle
may not be equipped with certain
components appearing on the list.
Air induction system
Intake manifold
Supercharger assembly
Supercharger bypass actuator
Supercharger electr
DESCRIPTION AND OPERATION
VEHICLE QUIESCENT CURRENT TEST
If a customer complains of a startup battery that discharges continuously or
when left for a prolonged period of time, it
is recommended that a quiescent drain test is done as described below.
When the vehicle is armed, the effect of the sec
© 2010-2026 Copyright www.lrdefender.org
